债市要闻

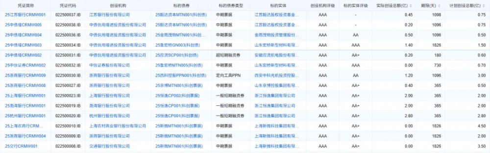
【交易商协会披露58家信用风险缓释凭证创设机构名单】

交易商协会近日发布了信用风险缓释凭证创设机构名单,共58家,包含55家银行机构、1家融资担保机构及2家信用增进机构。
【债市收益率经历短暂修复后昨日重新回归上行通道专家称市场风险或在提前释放】
债市收益率经历前日短暂的修复后,昨日重新回归上行通道。从市场交易的内容来看,债市全天主要定价两个逻辑。一是债基赎回费率新规的潜在影响,这也是决定全天利率上行方向的主线逻辑,自18-19日投资者开始关注到赎回费相关问题过后,不少机构针对这一主题进行了独立调研,本周随着观点的汇聚与发酵,市场对于征求意见稿“不变落地”的猜想变得愈发强烈,进而形成了偏空的一致预期。二是风险偏好的影响,尽管近期股债跷跷板的现象有所减弱,但权益表现似乎依旧是盘中利率定价的参考因素,例如今日10点后债市的边际修复可能多与风险资产走弱相关,而下午2点后的利率上行,也多由股市尾盘反弹决定。
解读:有专家表示,从机构行为视角观察,多数机构开始加速赎回债基,市场风险或在提前释放。参考第三方交易平台净申购&净赎回矩阵,23日仅保险在大额申购纯债基金,而理财、公募FOF、券商等机构的净赎回规模多在滚动1年60%分位数附近或以上。这一现象也再度印证,如果赎回费新规落地,机构大概率会优先考虑避险性减持债基;不过赎回压力的提前释放,或有利于规避后续债市极端调整行情的出现。
【地方性银行密集发行科创债第二批科创债ETF今日上市】
近期,多家地方性银行发行科创债。9月19日,青岛银行成功发行“25青岛银行科创债”,发行规模10亿元;重庆三峡银行于9月22日至24日发行“25三峡银行科创债01”,发行规模20亿元,这也是该行首单科创债。Wind资讯数据显示,截至9月23日,年内银行累计发行科创债54只,总发行规模达2710亿元。其中,参与发行的地方性银行数量超30家,已成为推动科创债市场扩容的重要力量。9月19日,14只科创债ETF发布上市交易公告书,将于9月24日集中上市。从基金持有人结构来看,其中11只科创债ETF的机构投资者持有比例超过98%。
【诉讼拍卖消息缠身启迪环境又被债权人申请重整】
原控股股东名下股份相继被拍卖后,启迪环境(000826.SZ)的危机还远未解除,近日,有债权人向法院申请对上市公司进行重整,并申请启动预重整程序。目前,该申请尚未获得法院受理。截至今年9月13日,启迪环境及控股子公司累计诉讼、仲裁事项金额合计50.16亿元,占公司最近一期经审计净资产的208.85%。
【吉林省:要落实好一揽子化债化险方案驰而不息推动中小金融机构系统改革化险】
据吉林省人民政府网,9月22日,吉林省委副书记、省长胡玉亭主持召开中小金融机构改革化险专题会议。胡玉亭强调,要落实好一揽子化债化险方案,驰而不息推动中小金融机构系统改革化险,统筹考虑化债、除险、清欠等任务,坚持市场化、法治化原则,进一步落实资金筹措渠道,多措并举强化财力支撑,加快不良资产清收处置、盘活变现,千方百计降低成本,更好保证改革收尾及后续工作有序推进,实现综合效益最大化。
【深圳在港成功发行40亿元离岸人民币地方政府债券】
深圳市政府9月22日在香港特别行政区成功发行2025年离岸人民币地方政府债券。这是深圳市连续第5年安排地方政府债券在香港簿记发行、登记托管并挂牌上市,持续推进粤港澳大湾区金融市场互联互通。据悉,本次发行债券规模为40亿元人民币,发行期限为2/5/10年期,发行利率逐年下降。其中,2年期发行规模15亿元,定价利率为1.61%;5年期(大湾区主题可持续发展债券)发行规模10亿元,定价利率为1.80%,募集资金将主要投向清洁交通、水治理等项目;10年期(社会责任债券)发行规模15亿元,定价利率为2.08%,募集资金将主要投向医疗卫生、教育、保障性住房、城中村改造等项目。
【淄博市淄川区:加快7%以上高息债务置换确保年底前全部置换完成】
淄川区2024年财政决算和2025年上半年预算执行情况的报告显示,下半年加快各项风险隐患化解步伐。充分利用好置换债券政策,加快存量债务化解,推进融资平台退出及高息债务置换。一方面,加快融资平台隐债清零,积极与金融债务债权人沟通,全力完成融资平台退出任务。另一方面,加快7%以上高息债务置换,严禁新增高息债务,确保年底前全部置换完成。结合补充财力债券,最大程度化解系统内隐性债务额度,减少债务总量,尽全力保障政府综合债务率控制在200%以内。
【摩根大通美国国债客户调查显示空头占比跃升至2月3日以来最高】
摩根大通截至9月22日当周的美国国债客户调查显示,空头占比上升4个百分点,多头占比上升3个百分点,而中性占比下降7个百分点。所有客户调查显示,空头占比创2月3日以来最高水平。
公开市场:
公开市场方面,央行公告称,9月23日以固定利率、数量招标方式开展了2761亿元7天期逆回购操作,投标量2761亿元,中标量2761亿元。当日2870亿元逆回购到期,据此计算,单日净回笼109亿元。
信用债事件
■新城发展(01030.HK):拟发行2年期美元债券,最终指导价13%;
■中证鹏元:甘肃国际物流子公司被列为失信被执行人等,被执行总金额合计3273万元;
■腾讯控股:完成发行90亿元点心债;
■保利发展:拟发行不超过150亿元公司债券;
■华夏安博仓储REIT、华夏中海商业REIT:获注册生效;
■上交所:终止审核吴都融资租赁18亿元ABS项目;
■中债公司:为新城控股提供信用增进服务支持2025年度中期票据发行;
■金科重整进展:投资人收到转增股票,黄红云退实控、董事会改选在即;
■花样年境外债重组进展:约84%债权人加入重组支持协议;
■华夏控股:近期公司及下属子公司华夏幸福新增诉讼、仲裁案件涉案金额为14.05亿元;
■21海江投资MTN001等5只债券:2025年10月13日召开持有人会议审议无偿划转股权议案;
■山东三星集团:“H19鲁星1”持有人会议将于9月25日召开,审议提前兑付等议案;
■中航产投:“22航投01”拟于9月28日付息;
■启迪环境:被申请重整及预重整程序启动存不确定性;
■宁波镇海区海江投资:拟将所持镇海文旅集团45%股权无偿划转至镇海区国资中心;
■重庆合川工投:拟14.52亿元出售合川医药公司至合川公共资源公司;
■22鹤壁投资MTN003:票面利率下调396BP至1.00%,回售申请期为9月24日至9月29日;
■20吉凤01:票面利率下调300BP至1.50%;
■河北建投新能源:取消发行“25建投新能MTN001(碳中和债)”。
市场动态:
【货币市场|货币市场利率多数下行】
周二,货币市场利率多数下行,其中银存间质押式回购加权平均利率1天期品种下行1.36BP报1.4141%,7天期下行1.34BP报1.4754%,14天期下行7.24BP报1.5938%,1月期上行3.05BP报1.6386%,创今年7月以来新高。
隔夜shibor报1.4130%,下跌1.40个基点;7天shibor报1.4620%,下跌0.40个基点;14天shibor报1.5670%,下跌10.80个基点;1月shibor报1.5510%,上涨0.10个基点;3月shibor报1.5620%,与前一交易日持平。
银行间回购定盘利率表现分化。FR001跌3.0个基点报1.47%;FR007持平报1.53%;FR014涨2.0个基点报1.72%。
银银间回购定盘利率全线下跌。FDR001跌1.0个基点报1.42%;FDR007跌3.0个基点报1.47%;FDR014跌10.0个基点报1.55%。
【利率债|跨季资金压力出现,10年国债收益率上行1BP】
周二,国债期货收盘全线下跌,30年期主力合约跌0.67%,10年期主力合约跌0.21%,5年期主力合约跌0.13%,2年期主力合约跌0.05%。
银行间主要利率债收益率全线上行,截至下午16:30分,10年期国债活跃券250011收益率上行1.25bp报1.8%,10年期国开债活跃券250215收益率上行1.4bp至1.942%,30年期国债活跃券2500002收益率上行1.9BP至2.102%。
业内人士表示,从隔夜来看,资金压力加大,要注意流动性变化。国股存单利率一度上行至1.69%,表明近期银行的负债端不是很稳定。临近跨季最后一周,也要注意存单的变化,这会直接影响短端利率。权益市场在节前有一定的回调压力,但与债市能否修复并没有直接关系。922会议没有更多的消息出来,短期政策可能不会在9月份公布。
【信用债|信用债收益率集体上行,全天成交近1300亿元】
周二,信用债收益率集体上行,但表现好于利率债,信用利差多数收窄,全天成交近1300亿元,“24皖投K1”、“24深圳地铁MTN006”跌超4%。AAA级中短期票据中,1年期收益率上行0.59个基点报1.7646%,AA级中短期票据中,1年期收益率上行0.59个基点报1.8646%;AAA级城投债中,1年期收益率上行1.03个基点报1.7523%,AA级城投债中,1年期收益率上行2.03个基点报1.8532%。
涨幅超2%的信用债共3只,其中“22国发03”、“22金港04”、“22余投01”涨幅居前,分别涨3.36%、3.01%、2.77%,分别成交100万元、5150.3万元、9249.07万元。
跌幅超2%的信用债共13只,“24皖投K1”、“24深圳地铁MTN006”、“24深投10”跌幅居前,分别跌4.74%、4.1%、3.97%,分别成交0.19万元、29102.46万元、2018.5万元。
高收益债:共148只收益率高于5%的信用债有成交,其中“23平煤化MTN003”、“23平煤化MTN002”、“23山西建投MTN007”收益率居前,分别为8.65%、8.4%、7.68%,分别成交14114.93万元、28173.26万元、100.47万元。
【欧债市场|欧债收益率涨跌不一,英国10年期国债收益率跌3.3个基点报4.678%】
周二,欧债收益率涨跌不一,英国10年期国债收益率跌3.3个基点报4.678%,法国10年期国债收益率涨0.4个基点报3.561%,德国10年期国债收益率涨0.1个基点报2.747%,意大利10年期国债收益率跌0.1个基点报3.540%,西班牙10年期国债收益率跌0.1个基点报3.294%。
【美债市场|美债收益率集体下跌,2年期美债收益率跌2.75个基点报3.573%】
周二,美债收益率集体下跌,2年期美债收益率跌2.75个基点报3.573%,3年期美债收益率跌3.07个基点报3.556%,5年期美债收益率跌3.84个基点报3.663%,10年期美债收益率跌4.06个基点报4.106%,30年期美债收益率跌4.81个基点报4.715%。
(文章来源:财联社)
